一个好的问题描述有利于社区小伙伴更快帮你定位到问题,高效解决你的问题
【TiDB 使用环境 测试环境
【TiDB 版本】
【部署方式】/机器部署
【操作系统/CPU 架构/芯片详情】
【机器部署详情】CPU大小/内存大小/磁盘大小
【集群数据量】300 G
【集群节点数】 3
【问题复现路径】集群停电后,重建集群后,部分数据库的表无法显示,打开提示 pd timeout ,查看日志 报错
【遇到的问题:问题现象及影响】
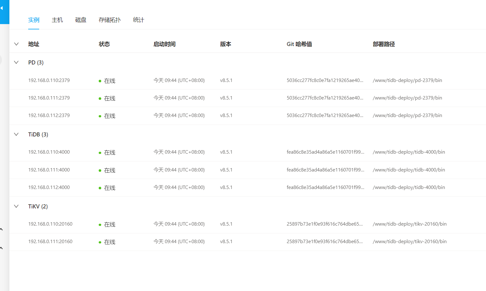
【资源配置】进入到 TiDB Dashboard -集群信息 (Cluster Info) -主机(Hosts) 截图此页面
【复制黏贴 ERROR 报错的日志】
[2026/02/10 11:57:04.155 +08:00] [WARN] [region.go:1908] [“scan regions failed”] [outputMustContainAllKeyRange=false] [error=“[PD:region:ErrRegionNotAdjacent]key range[7480000000000005ffc15f720000000000fb, 7480000000000005ffc15f72fb00000000fb) found a hole region in the last, the last scanned region is [, 7480000000000005ffc15f720000000000fb), [7480000000000005ffc15f720000000000fb, 7480000000000005ffc15f72fb00000000fb) is missing”]
[2026/02/10 11:30:06.723 +08:00] [WARN] [region.go:1908] [“scan regions failed”] [outputMustContainAllKeyRange=false] [error=“[PD:region:ErrRegionNotAdjacent]key range[7480000000000001ffaa5f728000000000ff0ad56b0000000000fa, 7480000000000001ffaa5f728000000000ff0ad56c0000000000fa) found a hole region in the last, the last scanned region is [, 7480000000000001ffaa5f728000000000ff0ad56b0000000000fa), [7480000000000001ffaa5f728000000000ff0ad56b0000000000fa, 7480000000000001ffaa5f728000000000ff0ad56c0000000000fa) is missing”]
【其他附件:截图/日志/监控】

